公司信息,社會責任,新聞,展會活動,行業洞察等等
以集成電路設計為基礎,開展以融合通信為平臺的技術研發;布局“芯片、軟件(模組)、終端、系統、信息服務”產業鏈,聚焦能源互聯網、智能化這兩個戰略新興領域,打造國際一流企業
依托成熟的電力線載波通信技術,結合WIFI、藍牙、RF等通訊方式,開展以融合通信為平臺的技術研發,從“芯”開始,構建一個安全、智慧、綠色的智能化系統。
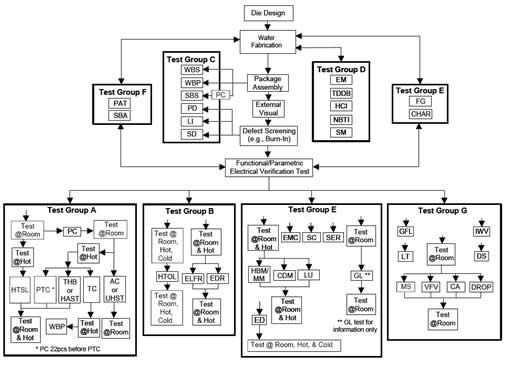
上海東軟載波微電子有限公司建立程序確保產品的可靠性符合客戶的要求。公司依據AEC-Q100的要求對產品的可靠性進行驗證。
可靠性驗證項目主要分為六組:
Group A: 環境應力加速驗證Accelerated Environment Stress TestsGroup G: 空腔體封裝綜合測試 Cavity Package Integrity Tests(不適用)

Copyright 2016-2021 上海東軟載波微電子有限公司版權所有 滬ICP備07005227號-1
隱私條款